I Forum di Amici della Vela
tesabase - Versione stampabile

+- I Forum di Amici della Vela (https://forum.amicidellavela.it)
+-- Forum: TECNICA E MANUTENZIONE (https://forum.amicidellavela.it/Forum-tecnica-e-manutenzione)
+--- Forum: Sails Rigging e Racing (https://forum.amicidellavela.it/Forum-sails-rigging-e-racing)
+--- Discussione: tesabase (/Thread-tesabase--79219)

Pagine: 1 2


tesabase - alx - 25-10-2012

Sto rimettendo mano al mio tesabase (24 piedi, randa di circa 16mq), ad oggi diretto e poco usabile, per inserire un paranco 2:1 all'interno del boma (che e' forato lateralmente per tutta la sua lunghezza di 3mt, quindi non ci sono problemi di accessibilita').

Attualmente la cima e' una doppia treccia poliestere da 6mm, strozzata dal un clamcleat posto sotto il boma.

L'idea di base e' questa:



[hide][Immagine: http://www.amicidellavela.it/uploads/avatars/alx/20121025164522_TB_new_ipotesi1.JPG][/hide]


Per la cima blu avevo pensato ad un dyneema scalzato da 5 o 6mm, impiombato alle due estremita'. Prime domande:

- occhio ampio e bocca di lupo alla bugna o metto un grillo?
- impiombo direttamente sul bozzello o metto un grillo?
- servono redancie? (io direi di no, ma non si sa mai...)
- che tipo di bozzello metto?

Per la parte in verde avevo pensato inizialmente ad una doppia treccia poliestere da 6mm di buona qualita', ma impiombarla mi sta facendo sudare le sette camicie, ed alla fine, visto il costo minimo, sto pensando di mettere una cima esotica anche qui:

- metto una doppia treccia con anima in dyneema?
- oppure metto uno scalzato con un pezzo di calza all'altezza dello strozzatore?
- l'occhio e' bene che sia calzato o posso lasciarlo scalzato?

Grassie!







tesabase - Alpa550 - 25-10-2012

Il sistema da te disegnato è nell'insieme un 4:1 , quindi abbastanza forte. Io ne ho uno un pò più demoltiplicato e cosìè riesco a cazzare la base senza sventare la randa (in regata serveWink), e tenendo il paranco esterno al boma. Inoltre io mi devo attenere alla classe Wink

A parte questo, sulla mia (sempre 24 piedi) ho impiombato l'estremità del tesabase, e per armarlo sulla bugna uso un normalissimo cimino di spectra stretto bene.

Dopo anni di regate posso dirti che mi trovo bene. In crociera andrebbe ancora meglio Smile


tesabase - ZK - 25-10-2012

strano modo di complicarsi la vita,
[hide][Immagine: http://www.amicidellavela.it/uploads/avatars/ZK/20121025172316_bugna.jpg][/hide]
cosi e' troppo semplice?


tesabase - alx - 25-10-2012

Perche' dici che e' un 4:1? A me torna che sia un 2:1...


tesabase - Alpa550 - 25-10-2012

Questo è un 3:1 , il suo 6:1.

Inoltre il suo lo può cazzare anche da solo dal timone, mentre quello da te messo richiede di spostarsi verso l'albero a causa del tiro contrario.


tesabase - Alpa550 - 25-10-2012

Citazione:alx ha scritto:
Perche' dici che e' un 4:1? A me torna che sia un 2:1...

Mi correggo! Il sistema completo è un 6:1.

Tu applichi un paranco 3:1 (verde) ad un lato di un altro paranco 2:1 (quello creato dalla cima bluWink)

quindi 3x2 :1 = 6:1

[hide][Immagine: http://www.amicidellavela.it/uploads/avatars/Alpa550/20121025174036_paranco2.jpg][/hide]


tesabase - alx - 25-10-2012

Citazione:ZK ha scritto:
strano modo di complicarsi la vita,

cosi e' troppo semplice?

ci ho pensato, ma siccome in varea ho poco spazio per attestare la cima mi tenevo questa opzione di scorta per aggiungere un ulteriore paranco se dovessi vedere che questo non basta (tipo il caso due qua' sotto, preso dal catalogo harken)

Alpa, quello blu mica e' un paranco 2:1, e' una leva di primo genere e non ha alcun effetto di demoltiplica, equivale al caso 1 qua' sotto:

[hide][Immagine: http://www.amicidellavela.it/uploads/avatars/alx/20121025174352_TB_harken.JPG][/hide]


tesabase - Alpa550 - 25-10-2012

E se guardo questa immagine sempre harken?
Guarda la parte blu di questo cunningham


[hide][Immagine: http://www.amicidellavela.it/uploads/avatars/Alpa550/20121025175316_paranco.gif][/hide]

e questo vang? allora non dovrebbe essere 8:1.
?!?!?!?



[hide][Immagine: http://www.amicidellavela.it/uploads/avatars/Alpa550/20121025175820_paranco3.jpg][/hide]


tesabase - alx - 25-10-2012

Citazione:Alpa550 ha scritto:
E se guardo questa immagine sempre harken?

mica e' uguale al mio, quello del cunningam e' uguale al secondo ch ho postato io (appunto il 4:1) in cui il secondo livello di paranco e' realizzato utilizzando il metodo suggerito da ZK, cioe' passando attraverso la bugna (punto mobile) e poi andando a fissarsi sul boma (o albero). Il mio invece termina direttamente sulla bugna.




tesabase - Alpa550 - 26-10-2012

Guarda anche l'8:1 che ti ho postato.

Cmq ho capito perchè dici che il blu è una leva di primo genere (e concordo) , infatti a fine boma non scorre. Perdona se ero entrato in confusione SmileBlushBlushBlush

Spero almeno di esserti stato utile con la soluzione del cimino di spectra al posto del grillo Wink


tesabase - alx - 26-10-2012

Citazione:Alpa550 ha scritto:
Guarda anche l'8:1 che ti ho postato.

Cmq ho capito perchè dici che il blu è una leva di primo genere (e concordo) , infatti a fine boma non scorre. Perdona se ero entrato in confusione SmileBlushBlushBlush

Spero almeno di esserti stato utile con la soluzione del cimino di spectra al posto del grillo Wink

figurati, e' piuttosto facile incasinarsi con queste cose, io faccio certi arrosti.... BlushBig Grin

cimino ok, per fare il figo potrei mettere un grillo tessile... e per il tipo di cime?


tesabase - ZK - 26-10-2012

non capisco bene dal disegno se tutta gesta mercanzia pensi di metterla dentro o fuori dal boma!
se pensi di metterla fuori disapprovo e me ne frego, se pensi di metterla dentro perche comunque non hai borose che possono interferire.. continuo a condividere un po di esperienze volentieri.
la prima e' che questo tipo di regolazioni (poca corsa della cima e spazi e pesi ristretti si realizza a basso costo e sono efficienti, anche con gli anellini di alluminio sinterizzato!
la seconda e' che se ti ci vuole l' uscita in quel verso e in quel posto ti conviene usare una puleggia completa di sede di quelle per le drizze.
la terza e' che se devi cazzarla sul serio la base che sia due o sia 4 non ti basta e 8 e' un esagerazione da mettere dentro, prima o poi qualche impiccio ti ci viene!
forse ti conviene il paranchino farlo esterno usando lo spazio tra boma e mastra, quella sara anche la massima regolazione che puoi dare alla base ma piu di 20 cm che ci fai?
sto uscendo, se vuoi un disegnino domattina te lo faccio!


tesabase - ami - 26-10-2012

La prima ipotesi di alx è un 2:1 nulla di più (calcolatevi bene quanta cima tirate e occhio ai bozzelli fissi che non fanno paranco!).
Molto più pratico il sistema proposto da ZK che è sempre un 2:1 (io ho fatto così).

(adesso apriti cielo sui paranchi... se ne è discusso di recente altrove) Big GrinBig Grin


tesabase - lxl_F.18_lxl - 26-10-2012

allo scalzato che esce dal boma metti una pallina fermata da un nodo senza nessuna piomba e nessun grillo...Wink


tesabase - alx - 26-10-2012

Citazione:ZK ha scritto:
non capisco bene dal disegno se tutta gesta mercanzia pensi di metterla dentro o fuori dal boma!
se pensi di metterla fuori disapprovo e me ne frego, se pensi di metterla dentro perche comunque non hai borose che possono interferire.. continuo a condividere un po di esperienze volentieri.
la prima e' che questo tipo di regolazioni (poca corsa della cima e spazi e pesi ristretti si realizza a basso costo e sono efficienti, anche con gli anellini di alluminio sinterizzato!
la seconda e' che se ti ci vuole l' uscita in quel verso e in quel posto ti conviene usare una puleggia completa di sede di quelle per le drizze.
la terza e' che se devi cazzarla sul serio la base che sia due o sia 4 non ti basta e 8 e' un esagerazione da mettere dentro, prima o poi qualche impiccio ti ci viene!
forse ti conviene il paranchino farlo esterno usando lo spazio tra boma e mastra, quella sara anche la massima regolazione che puoi dare alla base ma piu di 20 cm che ci fai?
sto uscendo, se vuoi un disegnino domattina te lo faccio!

l'accrocchio andrebbe all'interno del boma, che e' piuttosto ampio e forato e mi consente di lavorare bene all'interno. Visti gli spazi interni non mi sembra che un bozzello possa interferire con le borose (ho due mani), certo che se andassi a mettere altri paranchi in cascata il problema si potrebbe porre.

La barca nasce con un sistema diretto senza alcun paranco (inusabile), ma comunque ha una randa di 16mq e le forze in gioco sono ridotte, non credo siano necessari grandi paranchi, anche in funzione della vocazione crocieristica del mezzo e dell'armatore: ho visto barche simili con un 2:1 o 4:1.

Agli anelli ad alto scorrimento c'avevo pensato, ma ho il timore che ha parita di angolo di lavoro, vicino ai 180°, il bozzello sia piu' efficiente... sbaglio?

La puleggia tipo drizza l'ho scartata perche' vorrei evitare di dover allargare il foro di uscita dal boma, col rischio di far partire qualche cricca o peggio... il passaggio dalla puleggia in trozza e' un compromesso, e spero che non introduca troppi attriti.

La soluzione della mastra potrebbe essere interessante, anche se non sono sicuro di avere a disposizione tutte le pulegge, rinvii e golfari necessari... se avessi tempo di fare quel disegno te ne sarei molto grato, grazie!





tesabase - alx - 26-10-2012

Citazione:lxl_F.18_lxl ha scritto:
allo scalzato che esce dal boma metti una pallina fermata da un nodo senza nessuna piomba e nessun grillo...Wink

mica ho capito Blush... cioe' esco dalla puleggia in varea, passo nella bugna, passo nella pallina e ci faccio un nodo, in modo che sia la pallina a tenere in contrasto con l'anello della bugna?


tesabase - lxl_F.18_lxl - 26-10-2012

Citazione:alx ha scritto:
Citazione:lxl_F.18_lxl ha scritto:
allo scalzato che esce dal boma metti una pallina fermata da un nodo senza nessuna piomba e nessun grillo...Wink

mica ho capito Blush... cioe' esco dalla puleggia in varea, passo nella bugna, passo nella pallina e ci faccio un nodo, in modo che sia la pallina a tenere in contrasto con l'anello della bugna?
Nessun nodo da sciogliere tutte le volte...
Esci dalla puleggia e alla fine ci metti una pallina con un nodo per fermarla (savoia o un nodo semplicissimo).
Quando fissi la bugna prendi la pallina e la ripieghi sulla stessa cima, in pratica la infili nella bugna doppia e in questo cappio ci infili la pallina...
non sò se mi sono capitoBlush


tesabase - alx - 26-10-2012

forse ho capito, dici cosi'?

[hide][Immagine: http://www.isoracing.it/images/stories/Tecnica/drizza_randa_003.jpg][/hide]




tesabase - lxl_F.18_lxl - 26-10-2012

lxl_F.18_lxl ha scritto:
Citazione:alx ha scritto:
forse ho capito, dici cosi'?
esatto, meno ferraglia in giro e la base non scappa dentro il boma Big GrinBig Grin


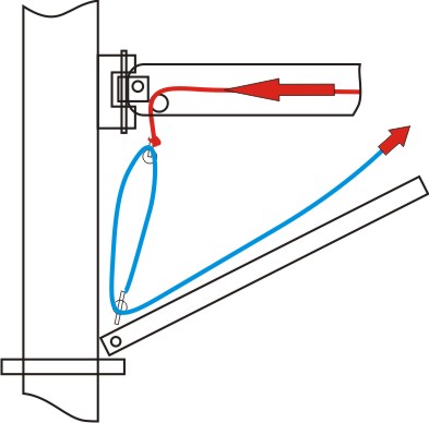
tesabase - ZK - 26-10-2012

la vedo cosi, in genere questo paranco in questo posto si usa per i barber ma se hai il genova lo puoi impegnare per la base!
la riduzione le la scegli giocando sul numero dei bozzelli o anelli, la superficie della vela conta relativamente la lunghezza della base e' quello che conta ma questo sistema e' facile da aggiornare per ottimizzare il paranco.

[hide][Immagine: http://www.amicidellavela.it/uploads/avatars/ZK/2012102610152_TESABASE.jpg][/hide]

non andrei tanto per il sottile preoccupandomi degli attriti degli anelli, e' una regolazione con poca corsa e con gli anelli risparmi diversi quattrini.
l' esotico nel caso io lo metterei sulla base, sul paranco le tensioni sono quelle che dai tu con la mano.. puoi usare anche spago da cucina!